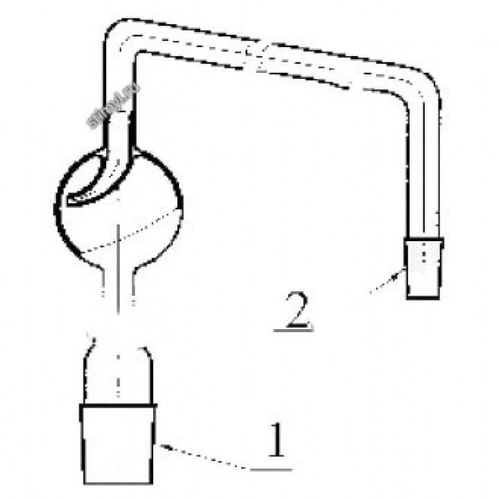
Насадка с каплеуловителем, эскиз 2-711
Предзаказ
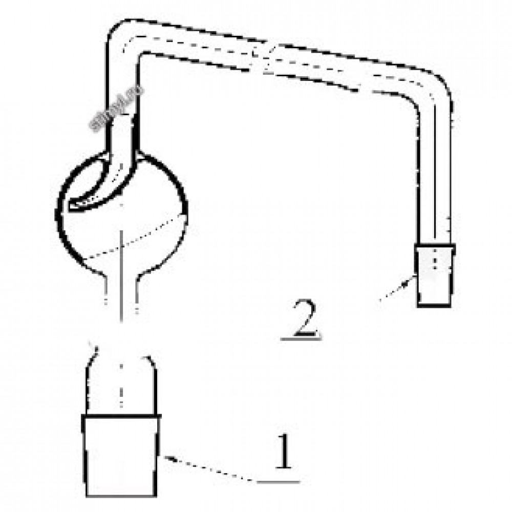
Насадка с каплеуловителем, эскиз 2-711
| Шифр | Шлиф КШ по ГОСТ 8682-93 | Н мм | L мм | |
| керна 1 | керна 2 | |||
| 2959 | 29/32 | 14/23 | 280 | 220 |
Характеристики
Материал
Стекло
Документы
Документы на товар доступны только клиентам. Свяжитесь с нами и мы вышлем на ваш e-mail:
- сертификаты
- паспорта
- инструкции
- ГОСТ и ТУ
Цена и наличие
Цену и наличие уточняйте у наших специалистов. Описание и фото товара носят информационный характер и могут отличаться от описания, представленного в технической документации производителя. Обращаем ваше внимание на то, что данный интернет-сайт носит исключительно информационный характер и ни при каких условиях не является публичной офертой, определяемой положениями Статьи 437 Гражданского кодекса Российской Федерации. Рекомендуем перед покупкой проверять характеристики товара у наших менеджеров.
