Прибор №2 для определения содержания эфирного масла по методу Клевенджера
Предзаказ
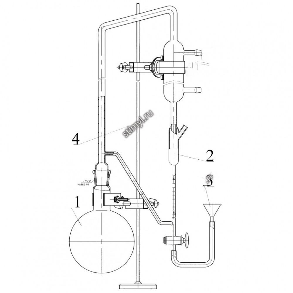
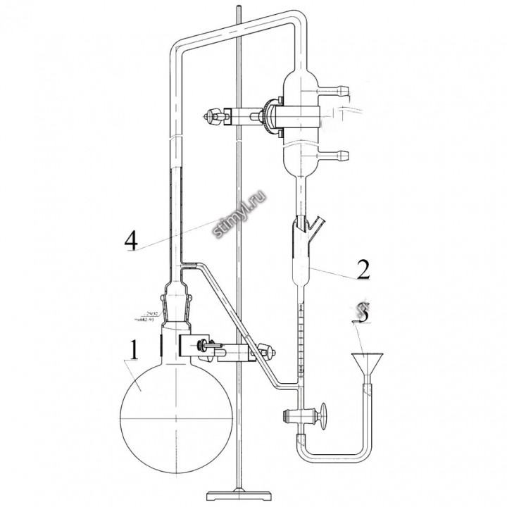
Прибор предназначен для определения содержания эфирного масла в растительном сырье по методу Клевенджера путем перегонки его с водяным паром и последующего измерения объема полученного масла, выраженного в процентах по отношению к абсолютно сухому сырью. Методики проведения испытания и расчета по ГОСТ 24027.2-80.Прибор состоит из:
- испарительной колбы вместимостью 1000 мл
- цельнопаянной системы охлаждения
- воронки лабораторной В-36-50 по ГОСТ 25336-82
| Шифр изделий, входящих в прибор | |
| 277 | Воронка лабораторная В-36-50 |
| 1499 | Колба круглодонная К-1-1000-29/32 |
Характеристики
ГОСТ/ТУ
4321-004-07609129-00
Материал
Стекло
Документы
Документы на товар доступны только клиентам. Свяжитесь с нами и мы вышлем на ваш e-mail:
- сертификаты
- паспорта
- инструкции
- ГОСТ и ТУ
Цена и наличие
Цену и наличие уточняйте у наших специалистов. Описание и фото товара носят информационный характер и могут отличаться от описания, представленного в технической документации производителя. Обращаем ваше внимание на то, что данный интернет-сайт носит исключительно информационный характер и ни при каких условиях не является публичной офертой, определяемой положениями Статьи 437 Гражданского кодекса Российской Федерации. Рекомендуем перед покупкой проверять характеристики товара у наших менеджеров.
