Установка для определения серосодержащих соединений в растительных маслах
Предзаказ
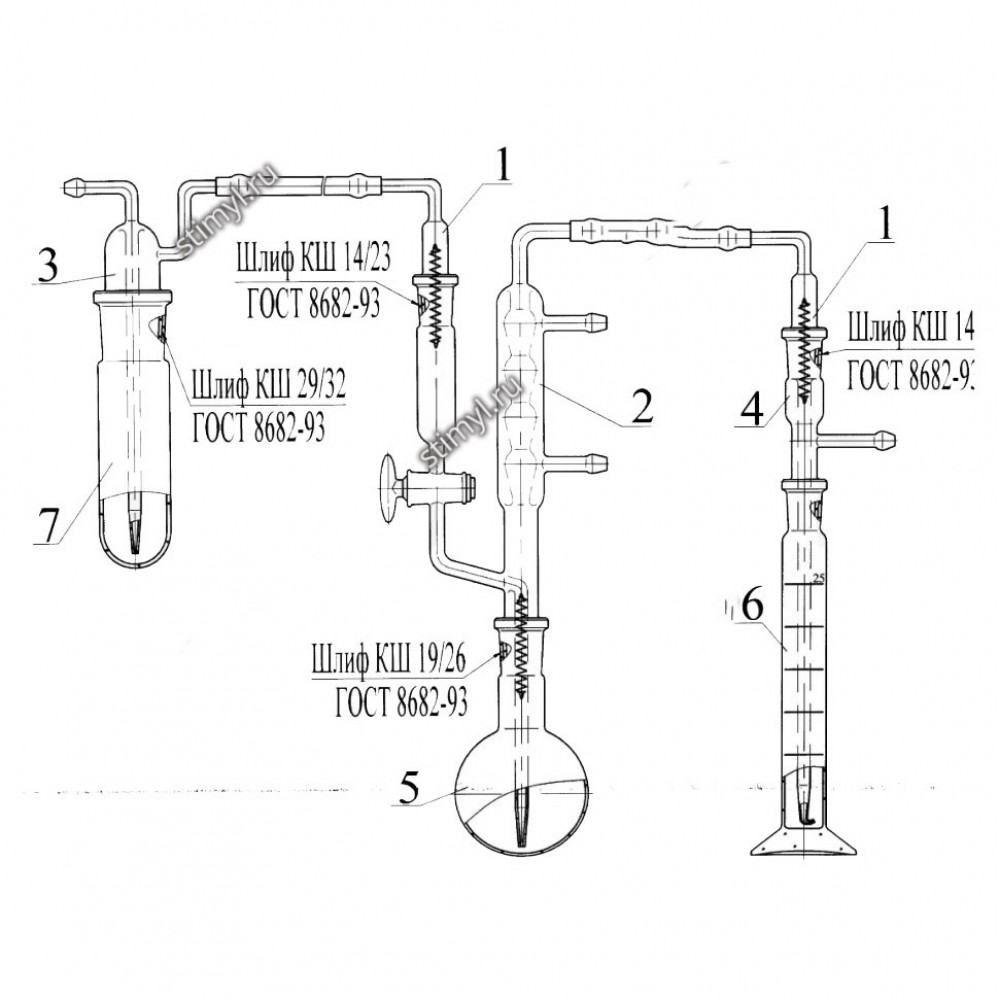
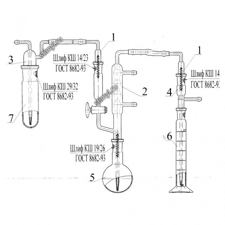
Установка для определения серосодержащих соединений в растительных маслах. Установка для определения серосодержащих соединений в растительных масла состоит из:
- керна КИО
- холодильника с воронкой
- пробки
- алонжа
- колбы
- цилиндра мерного 2-25-2 ГОСТ 1770-74
- пробирки П4-50-29/32 ГОСТ 25336-82
- детали установки соединяются между собой с помощью шлифов конических взаимозаменяемых по ГОСТ 8682-93 и закрепляются пружинками
| Шифр изделий, входящих в прибор | |
| 3110 | Керн КИО-14/23 |
Характеристики
Материал
Стекло
Документы
Документы на товар доступны только клиентам. Свяжитесь с нами и мы вышлем на ваш e-mail:
- сертификаты
- паспорта
- инструкции
- ГОСТ и ТУ
Цена и наличие
Цену и наличие уточняйте у наших специалистов. Описание и фото товара носят информационный характер и могут отличаться от описания, представленного в технической документации производителя. Обращаем ваше внимание на то, что данный интернет-сайт носит исключительно информационный характер и ни при каких условиях не является публичной офертой, определяемой положениями Статьи 437 Гражданского кодекса Российской Федерации. Рекомендуем перед покупкой проверять характеристики товара у наших менеджеров.
